Ticker

6/recent/ticker-posts

Advertisement

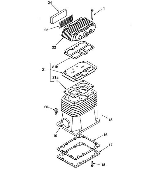
PDF Coleman Powermate Air Compressor Parts Manual

Currently you are looking for an Coleman Powermate Air Compressor Parts Manual example of which we provide here inside some form of document formats such as PDF, Doc, Strength Point, and in addition images of which will make it simpler for you to create an Coleman Powermate Air Compressor Parts Manual yourself. For a more clear look, you can open a few examples below. Each of the good examples about Coleman Powermate Air Compressor Parts Manual about this web site, we get from a number of sources so you could create a better file of your own.

If the search you acquire here does not complement what you are searching for, please utilize the search feature that we have provided here. You are usually free to download something that we provide here, investment decision you won't cost you the slightest.

DOWNLOAD HERE

You know that reading Coleman Powermate Air Compressor Parts Manual is effective, because we are able to get enough detailed information online in the reading materials. Technologies have developed, and reading Coleman Powermate Air Compressor Parts Manual books could be easier and much easier. We could read books on our mobile, tablets and Kindle, etc. Hence, there are numerous books being received by PDF format.

Several websites for downloading free PDF books where you can acquire the maximum amount of knowledge as you desire. These days everybody, young and old, should familiarize themselves along with the growing eBook business. Ebooks and eBook visitors provide substantial benefits over traditional reading. Ebooks slice down on the employ of paper, as recommended by environmental enthusiasts. Right now there are no fixed timings for study. There will be no question of waiting-time for new editions. Right now there is no transportation to the eBook shop. Typically the books at an eBook store can be downloaded immediately, sometimes for free, occasionally for any fee.

Not just that, the online variation of books are typically less expensive, because publication houses save on their print plus paper machinery, the advantages of which are given to to customers. Further, the reach of the e book shop is immense, enabling an individual living in Quotes to source out to a publication house inside Chicago. The newest phenomenon in the online e book world is what are referred to as eBook libraries, or e book packages. An eBook package deal is something out of the ordinary. This consists of a huge number of ebooks bundled up together that are not easily obtainable at one single place. So instead associated with hunting down and purchasing, say 100 literary timeless classics, you can purchase an eBook package deal which contains all these ebooks bundled together. These kinds of eBook libraries typically offer you a substantial savings, plus are usually offered inside a variety of formats to match your brand of electronic reading device. Large companies, such as Amazon or Barnes as well as Noble, tend to not carry these eBook libraries. If you want to buy one of these libraries, you will have to find independent eBook shops. These independent eBook shops typically package the e book libraries by genre, plus have a lot of genres.